Feed heise-online-news heise online News

Favorite Iconheise online News

Link https://www.heise.de/
Feed http://www.heise.de/newsticker/heise.rdf
Updated 2026-04-02 13:15
"Elektra Trainer": Elektroflugzeug für zwei Personen absolviert seinen Erstflug
Das bayerische Elektro-Ultraleichtflugzeug ist erstmals abgehoben und sicher wieder gelandet. Die Serienproduktion wird schon vorbereitet.
TechStage | Klares Wasser statt Algenbrühe: Filter, Pumpen & Co. für Planschbecken und Pool
Lust auf Abkühlung, aber der Aufstellpool ist schon wieder dreckig? Das muss nicht sein. Wir zeigen das wichtigste Zubehör für den sauberen Budget-Pool.
Europols Mandat zur Massenüberwachung tritt in Kraft
Jetzt ist es offiziell: Europol darf auch Daten unverdächtiger Personen im großen Stil auswerten. Am Dienstag trat eine entsprechende Verordnung in Kraft.
Mercedes will neue Elektroautos in Deutschland bauen
Große deutsche Mercedes-Fabriken sollen mit der Produktion von Elektroautos ausgelastet werden. Die Pläne dafür hat das Unternehmen nun bekannt gegeben.
heise+ | Astrofotografie: Detailstarke Mondbilder dank Videostacking
Knackscharfe Mondbilder entstehen, wenn Sie mehrere Einzelbelichtungen kombinieren. Zeiteffizient arbeiten Sie mit Videos. Profi-Ausrüstung brauchen Sie nicht.
Elektroautos: Ladeinfrastruktur wird zu langsam ausgebaut
15 Millionen E-Autos sollen bis 2030 in Deutschland unterwegs sein. Doch das Netz an Ladestationen wächst derzeit zu langsam. Nun soll gegengesteuert werden.
Deutschland soll jährlich mindestens 500.000 neue Wärmepumpen bekommen
Die Nachfrage nach Wärmepumpen steigt in Deutschland rapide. Zwei Ministerien haben sich deshalb mit der Branche zusammengesetzt.
Apple erweitert Forschungseinrichtung in den Palästinensischen Gebieten
Israel dient als Basis für Apples Hardware-Entwicklung, auch im palästinensischen Rawabi wird geforscht. Das Projekt soll "ein politisches Problem" angehen.
Cloud-nativ: Vitess 14 mit Cluster-Management API und UI VTAdmin
In der Version 14 des Cluster-Systems ist Online DDL nun allgemein verfügbar. Der Abfrage-Planer Gen4 steht mit diesem Release ebenfalls standardmäßig bereit.
Thunderbird 102 mit mehr Komfortfunktionen und Sicherheits-Fixes
Der E-Mail-Client Thunderbird ist in Version 102 erschienen. Das Update behebt Sicherheitsprobleme und macht den Client kompatibel mit dem Chatprotokoll Matrix.
Mit Struktur zum Erfolg: Wie eine iPhone-App vom Hobby zum Hauptberuf wurde
Leonard Mehling startete "Structured" als Hobbyprojekt. Zwei Jahre und zwei Millionen Downloads später kann er davon leben. Auch Apple spielte dabei eine Rolle.
Carsharing: Bundeskartellamt gibt Übernahme von Drive Now durch Stellantis frei
Mercedes und BMW verkaufen ihre Carsharing-Tochter an Stellantis. Mit der Zustimmung der deutschen Wettbewerbsbehörde gibt es keine behördlichen Hürden mehr.
Kurz informiert: Zero Trust, Klimaticket, Inflation, Sony Inzone
Unser werktäglicher News-Überblick fasst die wichtigsten Nachrichten des Tages kurz und knapp zusammen.
Friedensnobelpreisträger: Nachrichtenportal Rappler muss schließen
Die philippinische Börsenaufsicht hat dem Portal Rappler die Lizenz entzogen. Dessen Mitgründerin, die 2021 den Friedensnobelpreis bekam, gibt nicht klein bei.
Eve Water Guard im Kurztest: Smarter Wassersensor für Apple Home
Tritt Wasser aus, schlägt Eve Water Guard lautstark Alarm und meldet es an iPhone & Co. Der Sensor unterstützt das Mesh-Netzwerkprotokoll Thread.
heise-Angebot: Continuous Lifecycle und ContainerConf 2022 wieder vor Ort mit neuem Programm
Kubernetes-Security und -Operators sowie GitOps sind 2022 Themenschwerpunkte der Konferenzen für Continuous Delivery, DevOps und Containerisierung.
Elektroautos: Audi FAW NEV Company legt Grundstein für E-Auto-Fabrik in China
Im nordchinesischen Changchun beginnt der Bau einer neuen Fabrik eines Audi-Joint-Ventures. 150.000 Autos pro Jahr sollen dort ab Ende 2024 vom Band rollen.
Cortex-X3, Cortex-A715: ARMs neue Kerne für Notebooks und High-End-Smartphones
Bis zu 12 Cortex-CPU-Kerne können Chipdesigner jetzt in ARM-Prozessoren unterbringen. Zudem gibt es eine Raytracing-fähige Mobil-GPU.
E-Evidence: EU-Gremien einigen sich auf internationalen Zugriff auf Cloud-Daten
EU-Parlament und Rat haben sich auf einen Großteil der Rahmenbedingungen der E-Evidence-Verordnung verständigt. Es waren lange Verhandlungen.
Rückruf VW Touran mit Erdgasantrieb: Korrosion an Tanks
Volkswagen muss erneut ein Erdgas-Auto zurückrufen. Im Touran TGI kann der Tank nach einer Korrosion bersten.
Linux-Distribution: EndeavourOS 22.6 vereinfacht Installation
Die Version 22.6 der Linux-Distribution EndeavorOS bringt vor allem aktualisierte Pakete mit. Kleine Verbesserungen gibt es etwa beim Installationsassistenten.
heise+ | New Work: Zukunft der IT-Arbeitswelt
Für die IT-Branche ist "New Work" besonders interessant, weil es nicht nur einen internen Wandel verspricht, sondern auch wirtschaftlich neue Chancen eröffnet.
Netzwerk: IOS-XE und mehr Features für Ciscos kleine Switche
Mit den Switches der Serie C92000CX bringt Cisco endlich IOS-XE in die lüfterlose Kompaktklasse. Sie erleichtern Zero Touch Provisioning und erlauben MACSec.
Texteditor für Linux, Shell und mehr: Vim 9 ist da, das Warten hat sich gelohnt
Das erste Vim-Major-Release seit 2016 ist erschienen. Die neue Syntax ermöglicht schnelle Skriptverarbeitung und eine Anpassung an bekannte Programmiersprachen.
"Letzte Meile": Regulierer senkt die TAL-Miete – und erhöht sie wieder​
Die Bundesnetzagentur hat die Gebühren, die die Telekom für die Überlassung ihrer Kupferanschlussleitungen berechnet, erstmals für zehn Jahre festgeschrieben.
Oberster Schweizer Datenschützer besorgt über europäisches Überwachungsbegehren
In seinem jährlichen Tätigkeitsbericht äußert sich der Datenschutzbeauftragte der Schweiz zur geplanten Überwachung von privatem Datenverkehr.
Industrie-Kamera mit C-Mount zum Selbstbau
Genügend Geschick vorausgesetzt, kann man sich die C-Mount-Kamera von Gaurav Singh selbst bauen – das Design der Elektronik ist als Open Source offengelegt.
Verbrenner-Aus: Die FDP, E-Fuels und das leere Gerede über Technologieoffenheit
Beim Zulassungsverbot für Verbrenner macht die FDP mit großem Getöse eine Klientelpolitik, die nicht mal der eigenen Klientel dient, kommentiert Gregor Honsel.
Citroën ë-C4 X: SUV-Coupé kommt nur als Elektroauto nach Deutschland
Das SUV-Coupé auf Basis des ë-C4 bekommt den bekannten 100-kW-Elektroantrieb mit 50-kWh-Batterie. Glänzen will Citroën mit ungewöhnlichem Design und Komfort.
heise+ | Umweltgerechte RZ-Infrastruktur: Zukunftsfähiges Energiemanagement
Zur Nachhaltigkeit gehört auch ein effizienterer Umgang mit Energie. Wie das gelingen könnte, dafür gibt es eine Fülle von Ansätzen.
iPadOS 16: Nicht nur für M1-Geräte mit Neuerungen
Das wichtigste neue Feature, Stage Manager samt Fenstern für Apps, fehlt auf Nicht-M1-Tablets. Immerhin zeigt sich Apple nicht in allen Bereichen so knausrig.
Versionsverwaltung Git 2.37: Unerreichbare Objekte und mehr
Die jetzt vorgestellte Version 2.37 des Git-Projekts bietet neben neuen Möglichkeiten mit unerreichbaren Objekten umzugehen nun auch einen Dateisystem-Monitor.
Matebooks: Huawei schmeißt AMDs Ryzen-CPUs aus seinen 16-Zoll-Notebooks
Die ersten Huawei-Notebooks mit Intels CPU-Baureihe "Alder Lake" kommen in den deutschen Handel. Das Matebook 16s nutzt ein besonders hohes 3:2-Display.
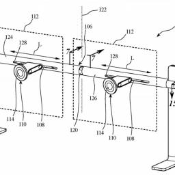
Auf zwei Beinen: Apple erhält Patent für einen "Dual Stand"-Bildschirmständer
Der "Dual Pro Stand" soll es Profinutzern ermöglichen, zwei von Apples teuersten Displays, dem Pro Display XDR, perfekt auszurichten. Er bietet einige Finessen.
Webstandards: Das W3C baut sich um
Das Gremium für Webstandardisierung W3C, das als internationale Kooperation mehrerer Einrichtungen arbeitet, bekommt eine zentrale Struktur.
Gehaltsexpertin: "Inflation ist kein Grund für mehr Geld"
Jeder fünfte Deutsche nutzt einer Umfrage zufolge die Inflation als Argument für eine Gehaltserhöhung. Eine Expertin rät davon ab und nennt bessere Gründe.
Groupware: Präparierte E-Mails könnten zur Codeausführung in Zimbra führen
Angreifer könnten in Zimbra Backdoors per E-Mail hochladen. Schuld daran ist eine Lücke im Entpacker unrar, die die Erstellung beliebiger Dateien erlaubt.
25 Jahre Kerkermeister! – heise spielt "Dungeon Keeper" (1997)
Ohrfeigen für Untertanen, Speerspitzen für Helden – wir feiern den 25. Geburtstag von "Dungeon Keeper" im Livestream ab 19 Uhr.
Inzone M9 und M3: Sonys Einstieg in die Welt der PC-Monitore
Sonys High-End-Monitor Inzone M9 lässt mit 4K-Auflösung, 144 Hertz und HDMI 2.1 VRR kaum Wünsche offen. Ebenfalls neu: Gaming-Headsets aus der Inzone-Serie.
heise-Angebot: Webentwicklung mit Node.js: Das Webinar von Heise
Am 17. August lernen Entwickler, wie man Web-Apps mit Node.js erstellt und mittels Authentifizierung den Zugang zur Applikation regelt.
Zurückgetrollt: Was Empfänger dem Nachrichten-Spam entgegensetzen
Immer häufiger kommen per Textbotschaft Scams und unerwünschte Reklame auf unsere Geräte. In den USA bekämpfen das immer mehr Menschen mit Humor.
Hü oder Hott: Apple will iPad nun doch als Home Hub zulassen
Mit iPadOS 16 kann man das Tablet weiterhin als HomeKit-Steuerzentrale nutzen, bestätigt der Konzern. Das bringt allerdings Einschränkungen.
Datenverwaltung: Kritische Lücke in Dell EMC PowerScale OneFS abgedichtet
Dell EMC PowerScale OneFS zur skalierbaren Datenspeicherung und -verwaltung enthält teils kritische Sicherheitslücken. Updates sollen sie schließen.
heise meets… Landwirtschaft Digital – mehr Ertrag, besserer Naturschutz
Digitale Verfahren können Landwirten einen besseren Überblick über Ihre bestellten Felder und Schädlingsbefall geben – das hilft der Natur und spart Kosten.
Sony Inzone: Drei neue Gaming-Headsets für PC und Playstation
Unter seiner neuen Marke Inzone verkauft Sony Headsets für Gamer, die zwischen 100 und 300 Euro kosten. Ein Modell hat aktive Geräuschunterdrückung.
heise+ | Chipkrisenmanagement für Bastler: Auswege und Alternativen
Die Chipkrise macht auch vor bei Makern beliebten Bausteinen nicht halt. Wir zeigen Auswege und Alternativen.
EU-Richtlinie zur Resilienz kritischer Einrichtungen kommt voran
Infrastruktur in Bereichen wie Energie, Verkehr, Trinkwasser und im Weltraum muss resilienter werden. Darüber haben sich EU-Parlament und -Rat nun geeinigt.
Luftraum über Deutschland zeitweise eingeschränkt: Probleme bei Flugsicherung
Der Luftraum über Deutschland war in Teilen eingeschränkt. Bei der Flugsicherung DFS soll es Software-Probleme im Kontrollcenter gegeben haben.
heise-Angebot: Der richtige Start als Product Owner – Webinar von den Produktwerkern und Heise
Wer neu in der Rolle als Product Owner arbeitet oder den Einstieg in den Beruf plant, erfährt in einem kostenlosen Webinar am 11. Juli, worauf es dabei ankommt.
Grüne Gentechnik: CRISPR-Tomaten produzieren Vitamin D
Forscher haben das Erbgut des Nachtschattengewächses so verändert, dass es das Provitamin anreichert, um eine neue Quelle gegen Vitamin-Mangel zu schaffen.
...1139114011411142114311441145114611471148...