Feed the-register The Register

The Register

Link https://www.theregister.com/
Feed http://www.theregister.co.uk/headlines.atom
Copyright Copyright © 2026, Situation Publishing
Updated 2026-04-08 23:16
Opera debuts free VPN built into desktop browser
Plus Adblocker in the webreader Opera went live today with a VPN embedded into its desktop browser. Described as “free, no-log and easy to use,” the VPN uses 256-bit AES encryption to connect to one of Opera’s five data centres.…
France, I am in you, says HPE's EMEA channel overlord
Gilles Thiebaut says oui oui to country manager's job Hewlett Packard Enterprise’s outgoing EMEA channel chief Gilles Thiebaut is to take control of the firm’s country operations in France, El Reg can confirm.…
Electrical box fault blamed for GS2 data centre outage
Second outage at huge data centre in three months A power outage at "Europe’s largest purpose-built data centre”, Global Switch 2 – which knocked one customer offline for two days – has been blamed on a high voltage fault.…
Online scammers speed up: Hit gold every 15 seconds
Take five to fix fraud There were over one million fraud attempts in the UK in the first six months of 2016, or one every 15 seconds - more than 50 per cent higher than the same period of last year.…
Avere builds on-premises object store all smothered in NAS
Tasty? NASty? You decide NAS accelerator and cloud storage gateway shop Avere has got itself its very own on-premises NAS system wrapped around an object storage core with a passage to the public cloud.…
Autonomous vehicles inquiry set up in the UK
Farming? Space? Oh the places driverless cars can go A UK parliamentary committee will look into the potential uses and benefits of autonomous vehicles in a new inquiry it has opened.…
WTF is OpenResty? The world's fifth-most-used Web server, that's what!
Tumblr switches to nginx superset maintained by CloudFlare and Taobao folk Netcraft's September survey of the world's most prevalent web servers turned up something interesting: a dip for all major servers but a sudden spike for OpenResty.…
2,000 year old man found dead near 2,000 year old computer
Antikythera mechanism shipwreck yields old bones Video The ancient shipwreck off the Greek island of Antikythera has already yielded up archeological wonders but now marine archeologists have found a body buried in the wreck that could yield up some clues as to the ship’s origins.…
Jakarta be kidding me! Google gets $400m tax bill from Indonesia
Java no friend of the Chocolate Factory Google is facing a bill for hundreds of millions of dollars in unpaid taxes.…
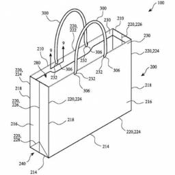
Apple seeks patent for paper bag - you read that right, a paper bag
Not all bags, just one very cunning bag with planet-friendly gussets and folds Apple is trying to patent a paper bag.…
Pluto's emitting X-rays, and NASA doesn't quite know how
The best words in science: 'That's odd' The Chandra space telescope has spotted X-rays emanating from Pluto.…
ROBO-PLOD! 'Droid snatches scumbag's shotgun in standoff
Californian Elmer Fudd foiled by mechanical means A stealthy robot run by a Los Angeles SWAT team has successfully disarmed a murder suspect by sneaking up behind him and stealing his weapon.…
Mozilla emits JavaScript debugger for Firefox and Chrome
When it's easier to rewrite than refactor Mozilla developers have released a new JavaScript debugger for Firefox.…
Legend of Zelda cracked with 6502 assembly language glitch
Find yourself a Famicom and brush up on ancient syntax to finish the game in minutes A 30-year-old bug in the iconic Nintendo game Legend of Zelda allows players to finish the game in minutes. A video posted to YouTube shows that, beneath what looks to be a fun game glitch, there is a fascinating bit of code manipulation in 6502 Assembly:…
Microsoft lets Beijing fondle its bits in new source code audit hub
New 'Transparency Centre' comes to Asia, more to open in 'coming weeks' Microsoft has opened a technology centre in China to reassure Beijing it does not have backdoors in its software.…
Hackers hijack Tesla Model S from afar, while the cars are moving
Chinese researchers control brakes, lights and mirrors with wireless attack VIDEO Chinese hackers have attacked Tesla electric cars from afar, using exploits that can activate brakes, unlock doors, and fold mirrors from up to 20 kilometres (12 miles) away while the cars are in motion.…
Quantum comms succeed over metro-scale fibre networks
Experiments in China, Canada, get us a little closer to quantum repeaters Two groups both reported successfully teleporting state information across metro-scale fibre networks.…
Microsoft hints at Cloud Platform System and Azure Pack integration with Azure Stack
Three hybrid clouds in prospect at next week's Ignite chatfest Microsoft's offered a hint that its previous on-premises Azure efforts, Windows Azure Pack (WAP) and the Cloud Platform System (CPS), will integrate with its forthcoming Azure Stack cloud-in-a-hyperconverged-box offering.…
Ghost of Windows NT haunts EMC's VNX, Celerra and Avamar
EMC's just figured out it has a problem with a bug Microsoft squashed in 2010 EMC has patched a six-year-old Windows bug that's popped up in its VNX and Celerra storage kit.…
Teradici's releases desktop-as-a-service-ware, as used by AWS and VMware
Your own DaaS-aster zone is now remotely possible Teradici has taken the code powering desktop-as-a-service (DaaS) offerings from VMware and Amazon Web Services and turned it in products you, yes you, can run.…
Netflix pirates Netflix, for the sake of better video
Meridian's real audience is UHD codecs You won't have to search for Torrents of Netflix's new 12-minute show Meridian: the streamer has published the program as a kind of “test pattern” for streaming technology.…
Epic snafu takes Australian Securities Exchange offline
Hardware failure in main database has traders Googling 'redundancy' Australian stock traders will be trying to reconcile trades that got lost after the Australian Securities Exchange's Nasdaq-supplied trading platform melted down yesterday.…
Target lock lost, Cruz missile misses: Ted's ICANN crusade is over
IANA transition from US govt hands looks likely as senators head home for election An effort to disrupt the handover of critical internet technical tasks from the US government to DNS overseer ICANN appears to have petered out.…
HP Inc's rinky-dink ink stink: Unofficial cartridges, official refills spurned by printer DRM
Software timebomb blasts ersatz Officejet Pro supplies A Dutch ink seller is accusing HP Inc of deliberately programming its printers to reject refurbished cartridges with a covert firmware update.…
Lack of Hurd mentality at Oracle OpenWorld: Co-CEO's cloud claims fall flat live on stage
When polling in keynotes goes bad OpenWorld Once again, Oracle's co-CEO Mark Hurd was in a prognosticative mood during his OpenWorld keynote, but the crowd of attendees wasn't buying it.…
Is Tesla telling us the truth over autopilot spat?
Prickly car company has long history of lashing out An increasingly bitter fight between Tesla and its former autopilot partner Mobileye is raising questions over the electric car company's honesty.…
Nutanix's $209m, $13-a-share IPO revealed in homework to watchdog
Hyperconverged software wrangler makes long-awaited filing to go public Hyperconverged upstart Nutanix has submitted more details about its forthcoming IPO to the US financial watchdog, the Securities and Exchange Commission (SEC).…
The Rector reckoning – DataDirect loses CMO
Molly Rector moves to Quantum to head up marketing HPC and enterprise high-performance storage company DataDirect Networks has lost Molly Rector, its chief marketing officer, who has moved to take up a VP marketing role at Quantum.…
Samsung wants your exploding Galaxy Note 7. Have a new one instead
Replacement programme for UK and Ireland Got a Samsung Galaxy Note 7 and live in the UK or Ireland? Not switched it on lately after reading those reports about exploding devices? Fret ye not, for Samsung today announced an exchange programme, whereby you get a replacement “phablet” courtesy of the provider you bought it from.…
The perimeterless, ever-shifting enterprise: What would a real, red-blooded IT team do?
You're not trying to build an empire, you just want to secure the bloody data If you work in a manufacturing, plant measuring productivity is simple: you measure the number of widgets produced in a given time frame. A person in this environment must not be the one holding up the production line. Nothing more, nothing less. But what does productivity mean for less tangible "knowledge work" occupations such as those of us who work in IT?…
Tech Data to slurp Avnet TS for $2.6 BEEELLLION
Consolidation grips distribution as the big are eaten by the bigger Tech Data is to buy Avnet Technology Solutions for $2.6bn in a deal that, when completed, will create the chunkiest enterprise IT distie on the planet.…
Want a Dell printer? Unlucky – they've just stopped selling them
Warranties won't continue beyond 2021 Ahead of the mega-merger with EMC, Dell has decided to quit selling printers as part of its hardware portfolio while its imaging business is being scaled back.…
Italian scientists use fluorescent box to arouse sexually indifferent men
Something worth getting up for Chaps of a certain age who find their libido fading could do worse than stare at a glaring light source – though not the sort you might be thinking of.…
RAF Reaper drone was involved in botched US Syria airstrike
British unmanned system used in strike that killed 62 non-enemy troops A British Reaper drone was part of the US airstrike that killed 62 Syrian government soldiers on Saturday, the Ministry of Defence has confirmed.…
Brits: Can banks do biometric security? We'd trust them before the government
Is that saying much, though? Brits have more faith in their banks than government agencies to roll out authentication technologies based on biometrics, according to a new survey from Visa.…
CSC straps another 100 jobs to redundo cannon, lights fuse, walks off
More Brits set to be fired into the land of the unemployed CSC UK execs left sweating over local profit “challenges” have again opted to expunge costs from the business in a time-honoured fashion by strapping human capital to the employment cannons.…
Spoiler alert: What Oracle is going to announce today
It's clouds all the way down OpenWorld It's that time of the year again. Oracle's OpenWorld is in San Francisco. Supremo Larry Ellison has given his Sunday keynote. Here's a summary of what the database giant is going to reveal today in easily digestible chunks.…
Data-updater CTERA handed $25m: Overheated sector could get NASty
Cloud storage gateway and NAS? Getting crowded in there Cloud storage startup CTERA has gained $25m in a funding round, following on from a similar one in 2014, and taking its total funding to almost $70m.…
Radar missile decoys will draw enemy missiles away from RAF jets
We like the BriteCloud so much we're going to write a book about it, says MoD Britain's Tornado fighter jets may soon be deploying with missile-jamming decoys on board after the MoD signed a £2.5m order with Leonardo-Finmeccanica.…
Microsoft dismisses Exchange vulnerability report
It only applies to 'compromised' servers, says Redmond Microsoft has downplayed the seriousness of an alleged Exchange auto-discovery vulnerability, re-affirming that it sees no need to patch the reported security weakness.…
EMC: King of storage needs to shore up defences
Watch out, Mikey D. Meg W's got enterprise storage parity IDC’s latest storage tracker says the enterprise storage market was flat in the 12 months since 2015’s second quarter, but HPE now ties with EMC for first place, with IBM and NetApp in equal fourth place after Dell.…
Hybrid infrastructure: You did it. You switched over. Now lock it down. Yes, really
And do it yesterday. Here's a checklist Hybrid infrastructures – where you combine on-premise equipment with systems that sit in a public cloud installation – have their own particular foibles when it comes to management. It's really not so hard, though – here are 10 things to think about when you're looking at the security aspects of managing your hybrid world.…
Conviction by computer: Ministry of Justice wants defendants to plead guilty online
Do you really trust prosecutors to upload all their evidence? Train fare and telly licence dodgers will be invited to plead guilty from the comfort and convenience of their phones, according to court reform plans unveiled by the Ministry of Justice.…
UK.gov oughta get its data-sharing house in order before Digital Economy Bill plans
If you show us yours, we might show you ours Analysis The government has a funny notion of how to tackle failure. When it comes to contracts, suppliers that have routinely messed up are handed more deals. When it comes to policy, approaches that have proved unsuccessful get dusted off and pushed with renewed vigour.…
Non-big IT vendors: Trying to understand where startups fit in tech
Part one: Who are you calling an upstart? Sysadmin blog Are startups to be avoided? You'll get different answers depending on who you talk to, but the arguments have relevance for the virtualization and storage markets as, today, most of the innovation is occurring with startups.…
Dark web drug sellers shutter location-tracking EXIF data from photos
But 229 didn't. Criminals have started to aggressively erase EXIF metadata from their photos to make it harder for authorities to locate them, Harvard University students Paul Lisker and Michael Rose find.…
NASA starts countdown for Cassini probe's Saturn death dive
Keep Solar System Tidy message heeded despite plan for three probe dumps NASA has revealed its final plans to crash the Cassini probe into Saturn next year.…
IPv4 apocalypse means we just can't measure the internet any more
You're all hidden behind NAT, which wouldn't be a problem if you'd just go IPv6 IPv4 address exhaustion is making it harder to measure the size of the Internet, even as IPv6 deployment accelerates.…
BSODs of the week: from GRUB to nagware
'Free for personal use' might not include a stadium. Just sayin' It's not always Microsoft's fault. Some of the dozens – literally – of submissions El Reg has received documenting Windows in a state of public undress show the world's most beloved operating system weeping because something else failed.…
FBI overpaid $999,900 to crack San Bernardino iPhone 5c password
Hacker brews fast NAND mirroring prototype for $100. University of Cambridge senior research associate Sergei Skorobogatov has laid waste to United States Federal Bureau of Intelligence (FBI) assertions about iPhone security by demonstrating password bypassing using a $100 NAND mirroring rig.…
...1190119111921193119411951196119711981199...